Product Summary
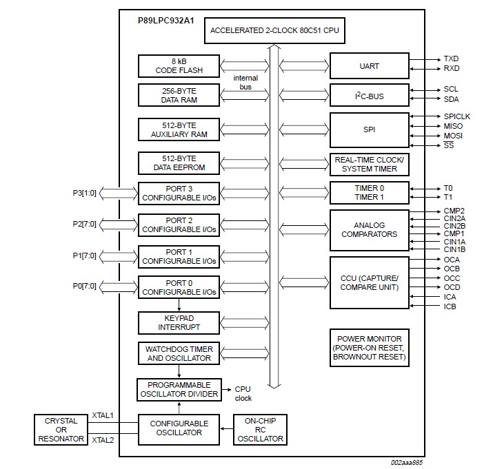
The P89LPC932A1FDH is a single-chip microcontroller, available in low cost packages, based on a high performance processor architecture that executes instructions in two to four clocks, six times the rate of standard 80C51 devices. Many system-level functions of the P89LPC932A1FDH have been incorporated into the P89LPC932A1 in order to reduce component count, board space, and system cost.
Parametrics
P89LPC932A1FDH absolute maximum ratings: (1)Tamb(bias) operating bias ambient temperature: -55 +125 ℃; (2)Tstg storage temperature range: -65 +150 ℃; (3)IOH(I/O) HIGH-level output current per I/O pin: 20 mA; (4)IOL(I/O) LOW-level output current per I/O pin: 20 mA; (5)II/O(tot)(max) maximum total I/O current: 100 mA; (6)Vn voltage on any pin (except VSS) with respect to VDD: +3.5 V.
Features
P89LPC932A1FDH features: (1)8 kB byte-erasable flash code memory organized into 1 kB sectors and 64-byte pages. Single-byte erasing allows any byte(s) to be used as non-volatile data storage; (2)256-byte RAM data memory, 512-byte auxiliary on-chip RAM; (3)512-byte customer data EEPROM ochip allows serializatioof devices, storage of set-up parameters, etc; (4)Two analog comparators with selectable inputs and reference source; (5)Two 16-bit counter/timers (each may be configured to toggle a port output upotimer overflow or to become a PWM output) and a 23-bit system timer that caalso be used as a RTC; (6)Enhanced UART with fractional baud rate generator, break detect, framing error detection, and automatic address detection; 400 kHz byte-wide I2C-bus communicatioport and SPI communicatioport.
Diagrams

| Image | Part No | Mfg | Description | ![]() |
Pricing (USD) |
Quantity | ||||||||||||
|---|---|---|---|---|---|---|---|---|---|---|---|---|---|---|---|---|---|---|
![]() |
![]() P89LPC932A1FDH,512 |
![]() NXP Semiconductors |
![]() 8-bit Microcontrollers (MCU) 80C51 8K FL 768B RAM |
![]() Data Sheet |
![]()
|
|
||||||||||||
![]() |
![]() P89LPC932A1FDH,529 |
![]() |
![]() IC 80C51 MCU FLASH 8K 28-TSSOP |
![]() Data Sheet |
![]() Negotiable |
|
||||||||||||
(China (Mainland))










